Portada

Electromagnetismo: de la ciencia a la tecnología.

  • Primeros registros.
    Jan 1, 1000

    Primeros registros.

    Tales de Mileto, al frotar con paño un tipo de resina llamado ámbar se dio cuenta de que éste adquiría la propiedad de atraer objetos de peso ligero. Con esto, la historia griega registra a Mileto como el primero en hacer experimentos de este tipo.
  • Primera aplicación práctica del imán.
    Jan 1, 1000

    Primera aplicación práctica del imán.

    Shen Kua, un matemático chino, fue el primero que escribió acerca del uso de una aguja magnética para indicar direcciones, lo que fue el antecedente de la brújula. Este instrumento se basa en el principio de que si se suspende un imán en forma de aguja, de tal manera que pueda girar libremente, uno de sus extremos siempre apuntará hacia el norte.
    Mas tarde, (1100) Chu Yu informó que la brújula se utilizaba también para la navegación en Cantón y Sumatra.
  • Period: Jan 1, 1000 to

    LA ELECTRICIDAD HASTA EL AÑO 1800

    Desde tiempos inmemorables el hombre se dio cuenta de que después de frotar con paño un tipo de resina llamada ámbar, esta adquiría la capacidad de atraer objetos ligeros. Pero, ¿cómo fue este fenómeno? ¡Veamos!
  • Descripción detallada de la brújula.
    Jan 1, 1269

    Descripción detallada de la brújula.

    <a href='https://es.wikipedia.org/wiki/Peter_Peregrinus_de_Maricourt' Petrus Peregrinus de Maricourt hizo una descripción detallada de la brújula como instrumento de navegación.
    "Maricourt toma una piedra imán a la cual se la había dado forma redonda y le aproxima una aguja que se orienta inmediatamente por la acción de la piedra imán. Cuando la aguja se detiene, Maricourt traza una línea sobre la piedra imán redondeada. Después repite la operación en otras partes del imán y cuando tiene trazadas un buen número de ellas sobre su superficie".
  • De magnete.

    De magnete.

    William Gilbert, médico de la reina Isabel I, publicó un famoso tratado, DE MAGNETE, en el que comprendió el conocimiento que se tenía en su época sobre los efectos magnéticos.
    Analizó las diferentes posiciones de la brújula y propuso que la tierra es un enorme imán, lo que constituyó su gran contribución y de esta forma pudo explicar la atracción que ejerce el polo norte sobre el extremo de una aguja imantada.
    Descubrió también que, polos distintos se atraen y polos iguales se repelen.
  • Primer generador de electricidad.

    Primer generador de electricidad.

    Otto Von Guericke de Magdeburgo, construyó el primer generador de electricidad. Dicho aparato producía cargas eléctricas por medio de fricción. Así obtenía cargas eléctricas sobre la esfera, que atraían diversos objetos cercanos.
  • Esfera de vidrio.

    Esfera de vidrio.

    El científico famosos, Isaac Newton propuso usar una esfera de vidrio en lugar de una de azufre con lo que al transcurso de los años, se construyeron máquinas cada vez con mayor capacidad de producir carga eléctrica.
  • Cargas eléctricas por medio de fricción.

    Cargas eléctricas por medio de fricción.

    En las primeras décadas del siglo XVIII ya existían máquinas que producían cargas eléctricas por medio de la fricción.Éstas máquinas producían cantidades respetables de carga eléctrica y al acercarlas con otras superficies se producían chispas.
  • Se inició la investigación detallada de fenómenos eléctricos.

    Se inició la investigación detallada de fenómenos eléctricos.

    Stephen Gray y Jean Desaguliers, (dos científicos ingleses) dieron a conocer los resultados de una serie de experimentos eléctricos mediante la observación de que si unían, por medio de un tubo metálico un tubo de vidrio previamente frotado con un trozo de corcho, éste se electrificaba. Surge lo que hoy conocemos como: Carga eléctrica.
  • Cargas iguales se repelen.

    Cargas iguales se repelen.

    Francois du Fay, científico francés, frotó con tela de seda dos tubos de vidrio iguales. Al acercar los tubos vio que se repelían. Así concluyó que dos materiales idénticos se repelan cuando se electrifican en formas idénticas.
    También, llega a la conclusión de que existen dos tipos de electricidad: Vitrosa (la que aparece cuando se frota con tela el vidrio) y resinosa (la que aparece cuando se frota al hule con piel).
  • Cargas positivas y negativas.

    Cargas positivas y negativas.

    Benjamín Franklin, realizó experimentos similares a los de Francois. Planteaba que el vidrio electrificado había adquirido un exceso de fluido eléctrico, y le llamó a este estado: positivo. Al estado de la seda con la que frotó el vidrio lo llamó: negativo.
  • Dispositivo para almacenar cargas.

    Dispositivo para almacenar cargas.

    Pieter Van Musschenbroek, construyó el primer dispositivo para almacenar cargas eléctricas. Se trataba de una botella de vidrio, que estaba recubierta tanto en sus parades interiores y exteriores, de una capa muy delgada de estaño. En ella se pudieron almacenar considerables cantidades de carga eléctrica, producidas por máquinas de fricción.
  • El pararrayos.

    El pararrayos.

    Mientras, Benjamín Flanklín efectuaba algunos experimentos se dio cuenta de que durante las tormentas había fenómenos eléctricos en la atmósfera y que los rayos eran cargas eléctricas provenientes de las nubes. Junto estas cargas por medio de varillas picudas, lo que hoy conocemos como: el pararrayos.
  • La pregunta del premio.

    La pregunta del premio.

    La Academia Electoral de Baviera, en Alemania, ofreció un premio para la persona que resolviera la siguiente cuestión ¿Hay una analogía real y física entre las fuerzas magnéticas y eléctricas?
  • Mientras más grande es cada una de las cargas, mayor es la magnitud de la fuerza entre ellas.

    Mientras más grande es cada una de las cargas, mayor es la magnitud de la fuerza entre ellas.

    Charles Auguste Coulomb pudo medir con bastante precisión las características de las fuerzas entre partículas eléctricamente cargadas con lo que pudo demostrar que la distancia entre A y C aumenta al doble, la fuerza disminuye la cuarta parte; si la distancia aumenta al triple, la fuerza disminuye la novena parte, etc. Conjunto de resultados que llamó: Ley de Coulomb.
  • Animales y cargas eléctricas.

    Animales y cargas eléctricas.

    Discípulos de Luigi Galvani, se dieron cuenta de que se sacaban chispas de un generador y se tocaban simultáneamente las patas de una rana con un bisturí, éstas se contraían. Fue aquí donde Galvani estudió con más detalle este fenómeno y llegó a la conclusión de que si se formaba un circuito cerrado entre dos metales que pasaran por la pata, se generaba una corriente eléctrica que llamó: electricidad animal.
  • Pila voltaica.

    Pila voltaica.

    Volta, quien se dio cuenta que en el caso de los experimentos de Galvani, la electricidad animal no era más que una acción química entre el líquido, llamado electrolíto, construyó lo que llamó: pila voltaica, que fue el primer dispositivo electroquímico que sirvió como fuente de electricidad.
  • Experimentos de Oersted.

    Experimentos de Oersted.

    Hans Christian Oersted, profesor de la filosofía natural, inició en 1807 sus investigaciones sobre los efectos de la electricidad en la aguja magnética de una brújula. En ese año, y posteriormente en 1812, publicó varios ensayos en los que decía, apoyado en consideraciones filosóficas, que la electricidad y el magnetismo deberían estar relacionados. Sus argumentos, al inicio,carecían de verdad,pero con el tiempo sus investigaciones se hicieron importantes, gracias a la idea de efecto magnético.
  • Electrólisis.

    Electrólisis.

    William Nicholson y Anthony Carlisle, construyen un dispositivo con el fin de mejorar la conexión eléctrica, conectaron cada una de las terminales de la pila a un recipiente con agua. Se dieron cuenta de que en una de las terminales aparecía hidrógeno y en otra oxígeno; así surgió la electrólisis.
  • Descubrimiento de metales como sodio y potasio.

    Descubrimiento de metales como sodio y potasio.

    Humphry Davy, en inglaterra, descompuso por medio de la electrólisis otras sustancias, y así descubrió los metales sodio y potasio al descomponer electroquímicamente diferentes sales minerales, como la potasa caústica, la soda fundida, etc.
    También, por medio de este proceso obtuvo: bario, calcio, magnesio y estroncio.
  • Primer trabajo científico de Faraday.

    Primer trabajo científico de Faraday.

    Faraday publicó su primer trabajo científico y fue elegido miembro de la Royal Institución. Se dedicó mucho tiempo al estudio de fenómenos químicos.
  • Galvanómetro.

    Galvanómetro.

    Después de ser postulada la ley de Ampere, que es una de las leyes fundamentales del electromagnetismo, en 1820 Ampere se dio cuenta de que una aguja de imán podía detectar una corriente eléctrica, y basándose en esta idea construyó un instrumento al que llamó: galvanómetro.
    Esta invención de Ampere ha sido primordial ya que toda la ciencia y tecnología del electromagnetismo no se hubieran podido desarrollar sin que este midiera la corriente eléctrica.
  • La respuesta del premio.

    La respuesta del premio.

    Fue un profesor danés quien obtuvo por primera vez la respuesta afirmativa a dicha cuestión.
  • Ampere.

    Ampere.

    Después de la demostración de Arango, Ampere presentó a la academia la primera de una serie de memorias de gran importancia; hizo sus presentaciones semanales hasta el dos de noviembre y en cada ocasión anunció nuevos resultados.
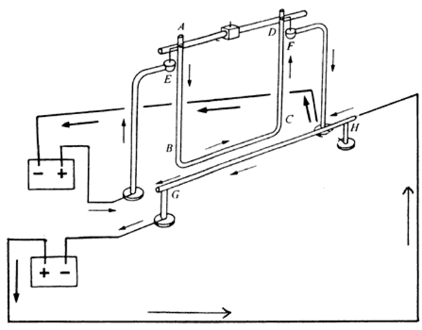
    Realizó corrección a los experimentos de Oersted mediante el esquema del experimento con el que descubrió que dos alambres que conducen electricidad ejercen fuerza entre sí.
  • Primer telégrafo.

    Primer telégrafo.

    Joseph Henry, construyó el primer telégrafo. Sin embargo, la persona que le dió impulso fue el estadounidense Samuel Morse, quien inventó un código que lleva su nombre. Este código consiste en una combinación de puntos y rayas, en donde la duración del punto es la unidad y la de la raya es de tres unidades. La transmisión de una unidad significa que durante ese tiempo el manipulador está conectado, cerrando el circuito eléctrico.
  • El primer electroimán.

    El primer electroimán.

    William Sturgeon, enrolló 18 espiras de alambre conductor alrededor de una barra de de hierro dulce, que dobló para que tuviera la forma de una herradura. Al conectar los extremos del cable a una batería el hierro se magnetizó y pudo levantar un peso que era 20 veces mayor que el propio. Este fue el primer electroimán, es decir, un imán accionado por electricidad.
  • Versión mejorada del electroimán.

    Versión mejorada del electroimán.

    Joseph Henry construyó una versión mejorada del elctroimán. Para ello enrolló en una barra de hierro dulce espiras en forma mucho más apretada y en un número mayor; de esta manera logró una mayor intensidad magnética.
  • Libro de Ampere.

    Libro de Ampere.

    Ampere se dedicó a formular matemáticamente, con mucha precisión y elegancia, todos los descubrimientos que había hecho. Así en este año, publicó un libro llamado: Teoría de los fenómenos electrodinámicos deducidos del experimento. En este presenta, de manera muy elaborada, los resultados de sus investigaciones.
  • Primer generador de electricidad.

    Primer generador de electricidad.

    Hippolyte Pixiie, a sugerencia de Faraday, construyó el primer generador de electricidad.
  • Línea de fuerza en un campo magnético.

    Línea de fuerza en un campo magnético.

    Faraday propone la idea de que la línea de fuerza en un campo magnético tenía en realidad física. Con ello demostró tener una gran intuición física para entender fenómenos electromagnéticos.
  • Primer motor eléctrico.

    Primer motor eléctrico.

    Davenport construyó el primer motor eléctrico para uso industrial. Con este es posible transformar la energía eléctrica que la bateria entrega al hacer circular la corriente por la bobina, en energía mecánica para mover algún objeto.
  • Uso del telégrafo moderno.

    Uso del telégrafo moderno.

    El uso del telégrafo moderno se dio en 1837. Es un aparato que transmite mensajes codificados a larga distancia mediante impulsos eléctricos que circulan a través de un cable conductor.
  • Motor más efectivo.

    Motor más efectivo.

    Charles Wheatstone remplazó el imán permanente del motor por un electroimán, accionado por una bateria externa. De esta manera logró un motor más efectivo. Posteriormente se añadieron mejoras , pero el principio básico de su funcionamiento es el descrito.
  • Fue creado el teléfono.

    Fue creado el teléfono.

    El inventor del teléfono fue Alexander Graham Bell, este aparato fue una extraordinaria aplicación de la electricidad lo que mejoró la vida diaria de la sociedad moderna.
  • La primera central telefónica.

    La primera central telefónica.

    En New Haven, fue creada la primera central telefónica, Connecticut, EUA, con 21 abonados.
  • Lámpara incandescente.

    Lámpara incandescente.

    Thomas Alva Edison logró construir una lámpara incandescente en la que el filamento de carbón emitía luz al hacerle pasar una corriente eléctrica por más de 40 horas. Con su aplicación y maravilloso experimento se creó la necesidad de construir generadores eficientes de electricidad.
  • "Voltaje"

    "Voltaje"

    El Congreso Internacional de Electricistas decidió honrar a Volta, dando su nombre a la unidad de diferencia de potencial: el volt, a la que suele llamarse tambien de forma familiar, voltaje.
  • Voltaje del generador con valor constante.

    Voltaje del generador con valor constante.

    Por medio de una ingeniosa combinación, Charles Brush logró que el voltaje del generador tuviese siempre un valor constante, sin importar cuanta corriente produciera el aparato.
  • Estación eléctrica.

    Estación eléctrica.

    Otra de las contribuciones de Edison fue la estación eléctrica, o sea, una planta en la que se generaba electricidad y de allí se distribuía. Al ofrecer el servicio de luz eléctrica al público, Edison dejó atrás a todos sus competidores.
  • Generador secundario.

    Generador secundario.

    Lucien H. Gaulard y John D. Gibbs, obtuvieron en 1882 una patente para un dispositivo que ellos llamaron generador secundario. De esta manera incorporaron un sistema de iluminación a la corriente a la corriente alterna. El sistema que ellos patentaron fue una versión poco práctica de lo que hoy en día llamados generador.
  • Sistema de iluminación.

    Sistema de iluminación.

    Quienes mejoraron el diseño del transformador: Otto Bláthy, Max Déri y Karl Zipernowski, en este año, en la Exposición Nacional Húngara de Budapest presentaron lo que resultó ser el prototipo del sistema de iluminación que se utiliza hasta hoy en día.
  • Primer cable trasatlántico.

    Primer cable trasatlántico.

    Fue gracias al talento de uno de los más eminentes físicos de la época, el inglés William Thomson, Lord Kelvin, que se hicieron los estudios necesarios para instalar el primer cable trasatlántico que conectó a Wall Street en New York con la City en Londres.
  • Planta de Stanley.

    Planta de Stanley.

    Entra en operación una planta construida por Stanley, en Massachusetts. Esta planta operó con corriente alterna, con un generador que produjo una corriente de 500 V y que alimentó un conjunto de lámparas a una distancia de alrededor de 2 kilómetros.
  • Se mide por pimera vez en un laboratorio el cambio en el campo magnético.

    Se mide por pimera vez en un laboratorio el cambio en el campo magnético.

    Faraday se preguntó si el cambio en el campo magnético producido ocurría instantáneamente o si tardaba en ocurrir, pero no pudo medir estos intervalos de tiempo ya que no había el instrumento necesario. Pero en 1887, se midió en un laboratorio y se comprobó que este tipo de propagación ocurre en un tiempo finito.
  • Generador polifásico

    Generador polifásico

    Nikola Tesla obtuvo una patente por un generador polifásico alterno que producía gran potencia eléctrica; muy pronto este tipo de máquina fue la más utilizada. Hoy en día se emplean generadores que son versiones muy mejoradas del generador polifásico de Tesla. Los primeros generadores tenían diferentes valores de sus frecuencias: los de 25, 33.5, 40, 50, 60, 90, 130, 420 Hz fueron los más usados.