Colores del arcoiris 1024x768

construccion

  • Primeros Pasos

    Primeros Pasos

    En esta parte comensaremos armando piezas basicas para construir la base de nuestro proyecto.
  • Ayustes de piezas primarias

    Ayustes de piezas primarias

    Comprobacion de la funcion de las piezas basicas
  • bases

    bases

    cortar y armar base.
  • Cortar y Engranar

    Cortar y Engranar

    unir piezas y ajustar tuercas.
  • Unir base y engranes

    Unir base y engranes

    unir y pegar engranes con tubos de eringas
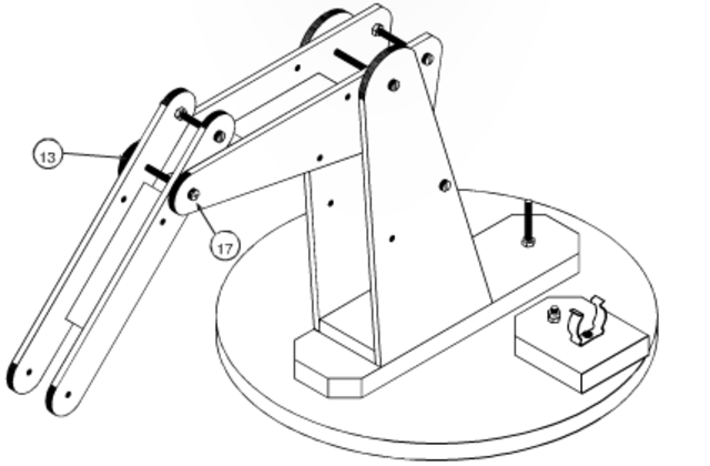
  • Agregar escabadora

    Agregar escabadora

    agregar paleta y ajustar tuercas
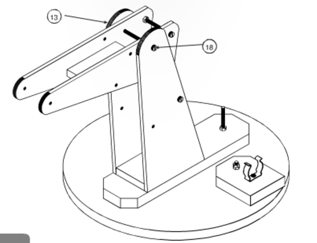
  • Ajustar y agregar jeringas

    Ajustar y agregar jeringas

    agregar jeringas y agregar tubos transportadores
  • Comprobacion de funcionamiento

    Comprobacion de funcionamiento

    en esta etapa consideraremos terminar de probar y desarrollar su respectiva funcion.