Pic camera evolution

L'évolution de la photographie

  • La découverte d'Aristote 400AJC
    400

    La découverte d'Aristote 400AJC

    Aristote trouve si tu estdans un chambre noir et puis il y a un petit trou dans la porte et s'il y a beaucoup de soleil dehors, l'image du paysage est sur un des murs mais renversé.
  • La création du principe du chambre noire
    Oct 12, 1100

    La création du principe du chambre noire

    Hassan Ibn Hassan trouve que le plus petit que ce trou de lumière est, le plus nette l'image projetée est.
  • La caméra obscura
    Apr 8, 1515

    La caméra obscura

    Léonard de Vinci prend les résultats que Hassan Ibn Hassan a eu et il invente la première vrai caméra, la caméra obscura.
  • L'indroduction du vitre au lieu du sténopé
    Jul 30, 1540

    L'indroduction du vitre au lieu du sténopé

    Gerolamo Cardano a décidé d'enlever le sténopé et de le remplacer avec un morceau de verre. Le résulatat est que ça pouvait maintenant être plus lumineux sans pedre de netteté.
  • Le caméra obscura avec du vitre
    Aug 25, 1553

    Le caméra obscura avec du vitre

    Giovanni Battista Della Porta essay le caméra obscura avec une lentille de verre au lieu du sténopé
  • L'addition du diaphragme au caméra obscura
    Nov 22, 1569

    L'addition du diaphragme au caméra obscura

    Daniel Matteo Alvise Barbaro ajoute le diaphragme au caméra obscura avec la lentille de verre.
  • L'améliration du caméra

    L'améliration du caméra

    À ce point tout le monde utilisait ce caméra et il y avait beaucoup de pression sur les scientifiques à créer différent foyers, lentille, et cetéra pour avoir des différents photos.
  • La caméra clara

    La caméra clara

    Horke crée la caméra clara qui est une caméra fait de miroir et du verre dépoli (frosted).
  • Le chimie entre en place.

    Le chimie entre en place.

    Johann Heinrich Schulze trouve que l'iodure d'argent noircit dans la lumière qui ferait que plus tard ils peuvent imprimer des images et le film même plus tard.
  • Les sciences avec la caméra obscura.

    Les sciences avec la caméra obscura.

    Thomas Wedgwood et Sir Humphry Davy ont travaillé ensemble pour prendre des photos du paysage et ils ont essayé de garder les images avec l'iodure d'argent mais ils ont malheureusement pas été capable de garder les images de la décoloration (fading).
  • La photographie devient «vrai»

    La photographie devient «vrai»

    Joseph Nicéphore Niépce trouve que quand la résine de Gaïac jaune est exposé à la lumière que ça devienne vert. Il a trouvé qu'il y a une difference entre la résine transformé et seul qui reste intacte sur la page. La photographie est finalement née!
  • La naissance de photogravure

    La naissance de photogravure

    Joseph Nicéphore Niépce utilise une autre résine, minérale, l'asphalt ou bitume de Judée. Dans la lumière ils laissent les dessins actuellement rester (la photogravure).
  • La première vraie photo

    La première vraie photo

    Joseph Nicéphore Niépce continue encore sont travil. Cette fois ci il découvre qu'en placent des pierres lithographiques recouvertes de bitumeau fond d'une chambre noir (obscura) qu'il y a une image fixe et non floue comme avant.
  • Les images plus clairs

    Les images plus clairs

    Joseph Nicéphore Niépce continue encore son travail et ce fois ci il trouve comment avaoir des images plus précis et plus claire en prenant de l'argent poli et il faisait aussi agir des vapeurs de d'iode sur l'image fait de bitume.
  • La dimunition de temps au Soleil

    La dimunition de temps au Soleil

    Joseph Nicéphore Niépce a une problème avec ses photos, ils prennent quelques jours pour sêcher au Soleil. Il décide donc de travailler avec Louis Jacques Mandé Daguerre pour diminuer le temps. Ils son capable de le déscendre à 8 heures.
  • Une autre avancement

    Une autre avancement

    Daguerre utilise les techniques de Niépece et il diminue encore le temps que l'image doit rester au Soleil.
  • Les images rapide

    Les images rapide

    Daguerre continue à utiliser les techniques de Niépce et puis il peut maintenant produire des images en quelques minutes seulement!
  • La Daguerrotypie

    La Daguerrotypie

    La Daguerrotypie (méthose de Daguerre a créé) est maintenant utilisé à travers du monde et est très populaire.
  • Le calotype

    Le calotype

    William Henry Fox Talbot créa le calotype qui était un négatif utilisé pour céer autant de positif qu'on voudrait.
  • Le principe de l'actinomètre

    Le principe de l'actinomètre

    Le principe de l'actinomètre est ce qui deviendre le posemètre plus tard.
  • Une nouvelle caméra

    Une nouvelle caméra

    André Adolphe Eugène Disdéri invente une nouvelle caméra qui peut prendre 12 photos sur le même morceau de vitre.
  • Problèmes d'agrndissement

    Problèmes d'agrndissement

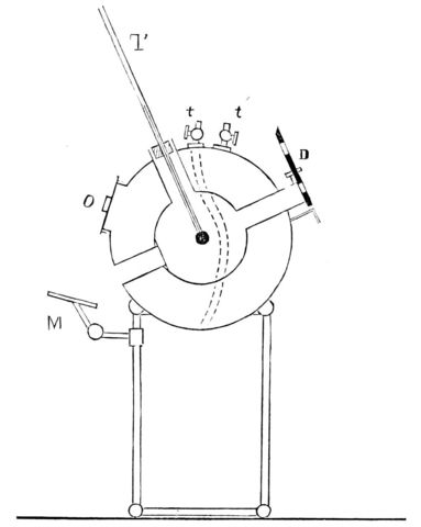
    Il y a pas encore des moyens à àgrandir des photos donc ils doivent utiliser des plus grande caméra. Charles Thurston Thompson invente donc une grande caméra qui peut prendre des photos de 90cm².
  • La naissance de l'actinomètre

    La naissance de l'actinomètre

    L'actinomètre est née à cause de Bunsen et Roscoë.
  • Première photo en couleur!

    Première photo en couleur!

    La première photo en couleur est créé à cause du superposition de 3 négatifs. C'était fait par Louis Ducot du Hauron.
  • Le début du fabrication des petits caméra

    Le début du fabrication des petits caméra

    Ils ont commencé à construire des petits caméra plutôt pour les détectives pour qu'ils soivent capable de prendre des photos plus en secrèt.
  • Le commencement de Kodak

    Le commencement de Kodak

    George Eastman crée une caméra où les gens ne doivent pas s'inquiéter du papier, et cetéra, mais qu'ils devaient juste pousser un boutton qui déclanchait le caméra et faisaient tout. George nomme cette caméra Kodak. C'est le début du compagnie qu'on connait aujourd'hui.
  • L'invention de l'obturateur à rideau

    L'invention de l'obturateur à rideau

    Le compagnie Chemins de Fer de Chicago voulait une grande photo de leur nouveau train. Pour capturer cette image ils avaient besoin d'une très grande caméra, ils ont donc créé le mammouth. Cette caméra été au moins 4m et pesait 700kg! Cette caméra a seulement fonctionné une fois!
  • Le film dans les caméra

    Le film dans les caméra

    Oskar Barnack a créé du film dans les caméra qui mesurait 35mm mais se n'est pas sorti avant 1924.
  • La première vrai photo en couleur

    La première vrai photo en couleur

    À ce point la première vrai photo est créé par Auguste et Louis Lumière.
  • Les pellicules

    Les pellicules

    L'Agrandissement est maintenant possible. Le Ermanox est inventé. C'est une petite caméra qui prens des photos sous un faible éclairage en très peut de temps. Les pellicules sont très populaire à ce temps ci.
  • Les télémètres

    Les télémètres

    Les premiers télémètres sont créé avec l'aide du principe de triangulation de Leitz Wetzlar. Ils sont capable de mettre au point précisément.
  • Le Leica 0

    Le Leica 0

    Cette petite caméra sort cette année. C'est la caméra utilisé par les allemands dans la deuxième guerre mondiale et plusieurs personnes vont essayer de faire leur propre modèle.
  • Le premier flash bulb

    Le premier flash bulb

    General Electric trouve que c'est plus façile à utiliser un flash bulb au lieu du poudre de magnésium.
  • Le Rolleiflex

    Le Rolleiflex

    Le Rolleiflex est la caméra que la pluspard des reporters utilisaient. C'est une caméra très populaire à ce temps.
  • L'ivention du Minox

    L'ivention du Minox

    Walter Zapp crée le Minox. C'est utilisé durant la deuxième guerre mondiale.
  • Le début du couplage

    Le début du couplage

    C'est le début du couplage entre les viseurs et le télémètre.
  • La pellicule Kodachrome

    La pellicule Kodachrome

    C'est maintenant possible de faire de la diapositive.
  • La première caméra reflex

    La première caméra reflex

    la été créé par August Arnold. C'Est une caméra avec un miroir arrière qui peut pivoter.
  • Film couleur négatif

    Film couleur négatif

    le Kodacolor ou film couleur négatif arrive.
  • Le développement instantané

    Le développement instantané

    Edwin H. Land invente le Polaroid 95 qui est la première caméra à développer des photos instantáneamente.
  • Le Pentaprisme

    Le Pentaprisme

    Pentakon et Pentax travaillent ensemble pour créer le Pentaprisme.
  • TTL

    TTL

    Spot-Matic (Pentax) décide d'utiluser TTL dans leurs caméras.
  • Le spotmètre

    Le spotmètre

    Le Pentax Spot Exposure Meter (3°/21°) est inventé. C'est la première spotmètre électronique à main dans le monde.
  • Le Pentax Spotmatic

    Le Pentax Spotmatic

    Le Pentax Spotmatic est la caméra la plus populaire de son temps et est copier plusieurs fois.
  • Le capteur CCD

    Le capteur CCD

    Bell commence à créer le capteur CCD dans leurs laboratoires.
  • Le zoom et le contrôl du TTL

    Le zoom et le contrôl du TTL

    Pentax Super-Multi-Coating font les peremières traitement multicouches anti-réflexion ce qui crée des zoom de très haute qualité. Pentax Spotmatic IIa trouve qu'en ayant un couplage entre le posmètre et le flash dédié qu'il pouvait mieux contrôler le TTL.
  • Les caméras plus légé et numérique

    Les caméras plus légé et numérique

    Avec l'invention du caméra SX-70, il existe maintenant des caméras légé. Texas Instrument commence à créer des caméras numérique.
  • Le CCD

    Le CCD

    Le premier capteur CCD est utilisé.
  • La caméra numérique et le contôle total du TTL

    La caméra numérique et le contôle total du TTL

    Steve Sasson invente une caméra Kodak numérique. C'est la première caméra numérique. Olympus obtient le contrôle total du TTL.
  • L'autofocus

    L'autofocus

    Konica vend la première caméra avec un autofocus.
  • La disquette

    La disquette

    Cest quand la première image numérique est mis sur une disquette.
  • Canon

    Canon

    La première caméra électrique est mis en vente par Canon
  • L'infra-rouge

    L'infra-rouge

    La première autofocus infra-rouge est utilisé (le Pentax SFX). C'est la caméra la plus avancé de ce temps.
  • La mémoire Compact Flash

    La mémoire Compact Flash

    La mémoir Compact Flash est inventé.
  • La caméra hybride

    La caméra hybride

    Panasonic invente la première caméra caméra hybride qui était interchangables.
  • Les images 3D

    Les images 3D

    Les caméras sont maintenant capable de prendre des images 3D. Il y a plusieurs d'autres avancements aussi dans la technologie.
  • LA FIN!!!

    LA FIN!!!

    Laura et Rebecca fini le timeline!