- 
  
  Paul Nipkow inventa el disco para análisis mecánico de imágenes.
 Disco de nipkow
- 
  
  
- 
  
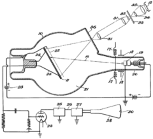
  Tubo catódicoKarl Ferdinand Braun construye el primer tubo catódico
- 
  
  Iconoscopio
 Vladimir Kosma Zworykin, inmigrante ruso en E. U., crea el iconoscopio, basefundamental de la televisión electrónica.Se funda la National Association of Broadcasters (NAB), en E. U
- 
  
  John Logie Baird realiza una demostración en Londres del primer sistema de televisión.
- 
  
  El gobierno nazi usa la nueva tecnología de la televisión durante los Juegos Olímpicosde Berlín; prueba las cámaras mecánicas y electrónicas existentes, hace la primeratransmisión en directo, usa por primera vez una unidad móvil y los primerosteleobjetivos en una cámara. Se inaugura en el Reino Unido el primer servicio detelevisión en el mundo.
- 
  
  Se utilizan por primera vez cables coaxiales.
- 
  
  La TV es introducida en la Feria Mundial de Nueva York.Los primeros televisores son fabricados y vendidos en E.U. por RCA, GE, DuMont yPhilco, entre otras compañías.González Camarena impacta al mundo al inventar la televisión a color, gracias a susistema tricromático secuencial de campos (obtine la patente de su invento tanto enMéxico como en Estados Unidos, el 19 de agosto de 1940)
- 
  
  Los televisores se producen con un incremento del 500% sobre el nivel de 1947.Ed Parsons, ingeniero e inventor, crea en Astoria, Oregon, E.U., el primer sistema decable, a fin de complacer a su esposa, para quien había comprado un televisor que no podía usarse en su pueblo. Su sistema unía la antena, los receptores y convertidoresconstruidos por Parsons en la azotea del Hotel Astoria, con su apartamento, situado alotro lado de la calle, mediante un cable coaxial
- 
  
  En junio, en E.E.U.U., se realizan las primeras pruebas de laboratorio de la TV en tercera dimensión. Nunca pudo ser practica para uso doméstico
- 
  
  RCA lanza el primer televisor a color, el CT-100, con pantalla de 15 pulgadas.La teledifusión en color se inicia.
- 
  
  Comienza la era de los televisores blanco y negro portatiles
- 
  
  Luego del final del gobierno del General Gustavo Rojas Pinilla nacen las programadoras de televisión en Colombia. Las primeras fueron Producciones PUNCH desde 1956 y TVC Ltda. (Caracol Radio y RCN Radio) en la entonces Televisora Nacional de Colombia, actual Canal Uno.
- 
  
  Se lanza el satélite Telstar, que posibilita la recepción de imágenes de televisión endirecto entre el Reino Unido y América
- 
  
  Comienza a explotarse comercialmente a gran escala la televisión por cable en E.E.U.U.y Gran Bretaña
 En junio, Sharp presenta el modelo DUalvision y con el introduce el PIP (Picture in pictures). Una ventana de cuatro pulgadas con imagenes a Blanco y Negro en una pantalla de 17 pulgadas a color.La FCC comienza a probar los sitemas de transmisión de Televisión con sonido estéreoen el mes de octubre
- 
  
  Toshiba muestra la primera televisón con pantalla LCD a Blanco y Negro de 2 pulgadas.
- 
  
  Aiken inventó una práctica pantalla plana CRT de menos de 3 pulgadas de espesor en la década de 1950, pero no pudo encontrar a nadie interesado en fabricarla. A pesar de que golpeó varias puertas, en plena guerra fría nadie se fiaba de un desconocido inventor que traía entre sus manos un producto tan logrado e innovador. Fue así como empresas del nivel de Warner Brothers y General Electric rechazaron su oferta. Incluso RCA, fabricante líder de televisores en los ‘50 no pudo concretar un acuerdo.
- 
  
  Se comercializan los primeros televisores en color de 35 pulgadas y se comienzan a dar los primeros pasos hacia la digitalización después de la primera generación demonitores con circuitos digitales
- 
  
  Comienzan las opciones de proveer TV via satelite.Se inicia la venta de decodificadores y suscriptores de de servicios de television para propietarios de antenas parabólicas.
- 
  
  Se introducen en E.U. los primeros televisores con capacidad de mostrar Closed-Caption, comienzan las pruebas de HDTV en EEUU
- 
  
  Se transmite por primera vez un programa de TV ("Computer Chronicles") via Internet.Una estación de TV (KOLD 13) usa por primera vez un servidor de video digital en red para sus operaciones diarias.Comienzan las pruebas de consumo para el cable módem interactivo.Se introduce la pantalla plana de plasma para TV
- 
  
  La FCC asigna una porción del espectro para la teledifusión digital y establece un plazo para iniciarla.La Unión Internacional de Telecomunicaciones (UIT) define los principales estándaresde teledifusión de TV digital terrena (DTTB), que resultará en TV Digital Cabo-a-Cabocon calidad de Alta Definición y unificará los sistemas de transmisión en todo elmundo
- 
  
  Fujitsu y Philips ponen a la venta sus televisores de plasma de 42 pulgadas a todo color. Estos televisores tenian una resolucion de 852x480 pixeles y su precio era superior a los 12.000 dolares.
- 
  
  El desarrollo de redes IP administradas, basadas en accesos de los clientes a las mismas mediante XDSL o fibra óptica, que proporcionan gran ancho de banda, así como el aumento de las capacidades de compresión de datos de los algoritmos tipo MPEG, ha hecho posible la distribución de la señal de televisión de forma digital encapsulada en mediante protocolo IP.
 Han surgido así, a partir del año 2003, plataformas de distribución de televisión IP (IPTV) soportadas tanto en redes del tipo XDSL, o de
- 
  
  Sharp presenta una pantalla LCD de 65 pulgadas.
- 
  
  Sony presenta el primer televisor LED al que llamo Sony Qualia 005. Este utilizaba la tecnologia de retroiluminacion RGB Dynamic LED.
- 
  
  En Europa, la Comisión Europea propuso mayo de 2005 como fecha recomendada y el año 2012 como fecha límite para todos los países. Una vez completado el apagón analógico, es indispensable disponer de un televisor con un sintonizador digital, o en su defecto utilizar un sintonizador TDT .
 Segun la Comisión Nacional de Televisión de Colombia el apagón analógico será el 31 de diciembre de 2019
- 
  
  Las televisiones LCD alcanza a las pantallas de plasma en el mercado de las 40 pulgadas. Ahora ambas tecnologias compiten en precio en este tamaño.
- 
  
  Sony saca al mercado en el mes de septiembre el televisor LED Bravia ZX1 o KLV. Este es el primer televisor que utiliza la retroiluminacion Edge-LED consiguiendo tener un grosor menor de 1 cm.
- 
  
  Se empiezan a desarrollar televisores con la posibilidad de conección a internet y aplicaciones desarrolladas para distintos fines
- 
  
  Panasonic se convirtió en el primer fabricante en poner a la venta un televisor de Alta Definición Viera 3D en Japón. El televisor 3D de Panasonic es el primero de plasma y en alta definición que se pone en el mercado mundial, después de que la cadena estadounidense Best Buy realizará una promoción para vender estas pantallas a un reducido grupo de elegidos en Estados Unidos en marzo.
- 
  
  Toshiba ha iniciado la comercialización en España del primer televisor 3D sin gafas de gran formato del mundo. Denominado 55ZL2, tiene una pantalla de 55 pulgadas (138 cm) y no requiere gafas para ver los contenidos en tres dimensiones.
- 
  
  Samsung lanza en corea un smart tv de 75 '' con un costo de 14.000 euros llamado Samsung ES9000.
 Se trata de un televisor inteligente Full HD con pantalla LED 3D de 75” de tan solo 7,9mm de grosor. Incluye un procesador Dual Core, una webcam integrada, un sistema de control por gestos y, cómo no, un buen número de aplicaciones de todo tipo (videoconferencia vía Skype, aplicaciones para ver cine o series, para consultar datos, etc.).
 Cuenta con conectividad WiFi y con la posibilidad de reproduci
